Patent Report: Parts levitate in Boeing 3-D printer
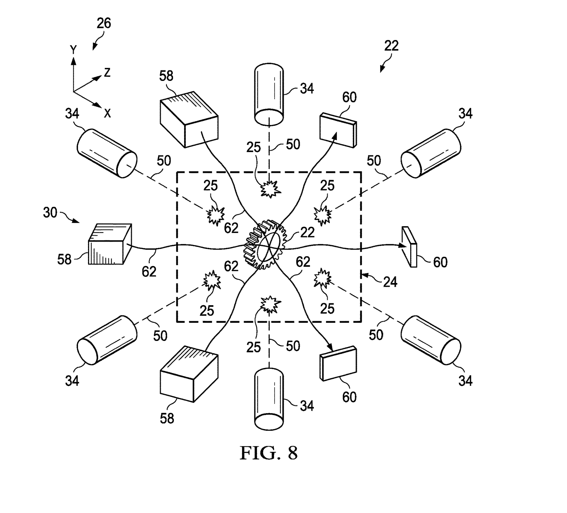
Free-form 3-D printer. A 3-D printer that uses sound waves to levitate and spatially orient the part that it is printing is the subject of a patent awarded to Boeing Co., Chicago. The patent describes an array of acoustic radiators and corresponding acoustic reflectors, arranged so that together they create a standing wave pattern with a node that has a sound pressure force substantially equal to the force of gravity, sufficient to levitate a part within the node.
The patent overcomes common problems of standard 3-D printing methods, including the need for a platform or support material to stabilize a part, as well as the limited speed of a single print head.
The system may also include position sensors to monitor the part’s location, and a stabilization system to maintain steady levitation of the part. According to the patent, “The part is levitated in space and can be moved and/or rotated to any angle in order to form desired features at any location on the part without the need for support structures to stabilize the part.”
The process is initiated when a print head jets or extrudes an initial nugget of polymer into the space of the build area, where it is levitated, and then more material is added until the part is finished. In other embodiments, a component, such as a shaft, could be levitated within the build space, and additional features could then be printed on that component.
The patent describes the use of a print head, or in some embodiments multiple print heads, arrayed around the build area. By modifying the amplitude, frequency or orientation of the sound pressure wave, the initial nugget of material levitating within the build space can be made to move, rotate or reorient to place it in position for a print head to add more material to the part. In some embodiments, the print heads can also move into position to jet, propel or extrude additional material onto the part.
The patent describes other embodiments of the invention that could use magnetic fields to levitate a part, and the use of print heads that jet liquid metal instead of polymer.
Patent 10,695,980, issued June 30
