Patent Report: Sika mold base speeds changes of mold inserts
Mold base. An injection mold base that permits the rapid changing of mold-insert assemblies earned a patent for Sika Technology AG, Baar, Switzerland.
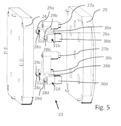
The mold base is specifically designed for producing automotive body or structural components, such as baffles and reinforcing structures, according to the patent. It consists of a bridge manifold with openings that feed material to a sub-manifold in a mold-insert assembly. It also has at least two valves that control material feed through the manifold openings.
According to the patent, the mold base is a flexible, modular tooling system that is appropriate for various resins, including ones that can be foamed. It can lower injection tooling costs by reducing the number of required mold components and also by allowing different mold inserts to be used in a universal mold base. Changing the mold inserts instead of using a completely different mold makes it easier for mold makers and injection molders to implement design or material changes. Additionally, the mold base can improve part quality through reduced flash and shot defects.
“An important feature of the invention is the first and second control valves which allow to control (in particular balance) for example flow and/or pressure from one sub-manifold to another sub-manifold. Existing technology provides (only) a control from gate to gate,” the patent states.
Patent 11,097,458; issued Aug. 24
