Patent Report: Sodick invention prevents resin backflow
Injection molding machine. An injection molding machine that prevents backflow of the melt garnered a patent for Sodick Co. Ltd., Kanagawa, Japan.
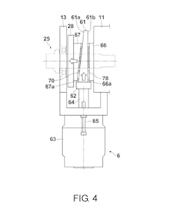
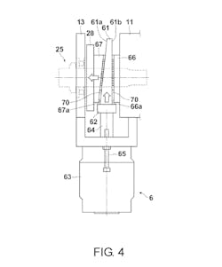
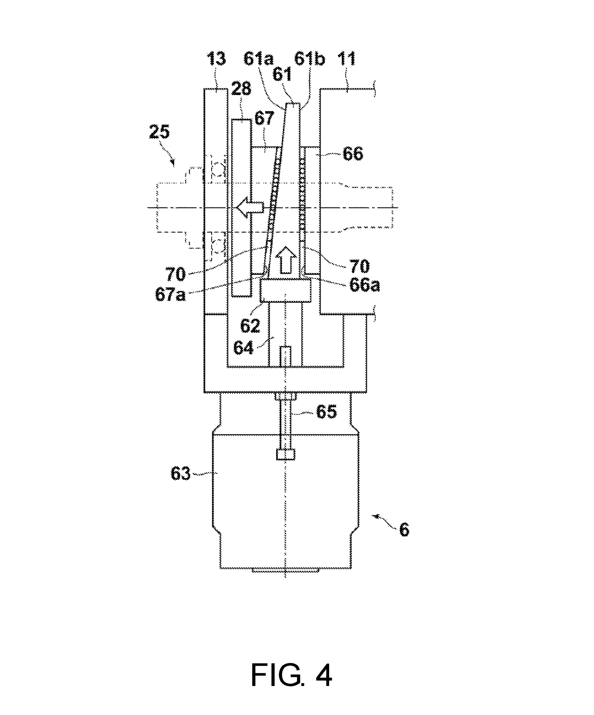
The patent describes an injection molding machine with a screw inside a plasticizing or mixing unit that is connected with an injection unit by a passage that the melt can flow through. The passage has an opening by the plasticizing unit that is located on an axis of the screw. A backflow-prevention mechanism keeps the molten resin from flowing from the injection unit into the plasticizing unit or mixing unit. It closes the opening by the plasticizing unit by advancing the screw in the axial direction. The backflow-prevention mechanism includes a tapered wedge portion with an inclined surface, a driving portion and a pressing member.
For the screw to close the opening, it must have sufficient thrust force to counteract a large injection pressure acting on the molten resin. A pneumatic cylinder or electric actuator that generates enough thrust force typically is large and heavy, according to the patent. Sodick’s invention has the advantage of being more compact than previous technologies.
Patent 10,792,847; issued Oct. 6
