Patent Report: Patent refines monitoring multilayer film
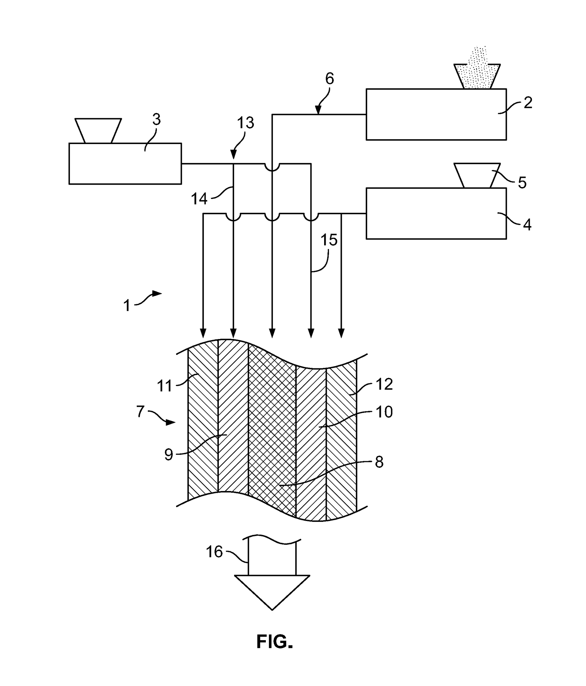
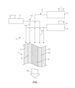
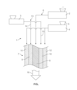
Film measurement. A modification in the sequence of adding a detection agent to film can help extrusion processors more efficiently monitor their product, according to a patent filed by Reifenhauser GmbH & Co. KG Maschinenfabrik, Troisdorf, Germany.
To measure layers in multilayer film, processors can meter in plasticizing fluorescent granulate to their resin batches; a white-light interferometer can then measure layer thickness. Reifenhauser’s patent changes up this procedure a bit, by suggesting that the detection agent be added just as the melt is leaving the extruder. According to the patent, “a decisive advantage is achieved in this way: Because the introduction of the detection agent takes place at a shorter distance ahead of the extrusion tool, the time required for flow of the detection agent from the introduction location to the cast foils is also shorter.”
This ensures that film-layer measurements are made more quickly, relative to the amount of material flowing through the machine, giving operators a chance to adjust the process sooner, if necessary, resulting in less scrap.
Patent 10,618,212; issued April 14
