Patent Report: 3-D printer features swappable print heads
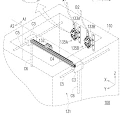
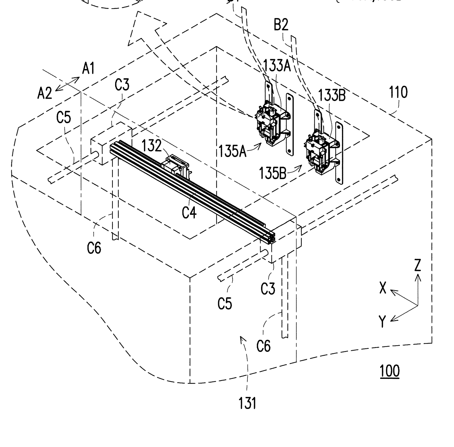
3-D printer. A patent awarded to XYZprinting Inc., New Taipei, Taiwan, describes a fused-deposition-modeling 3-D printer that can incorporate different colors or forming materials into a single printed object. It has an enclosure containing a printing region and a stand-by region that lies along one of its interior walls. Along that wall are mounted multiple stand-by supporting stands, each of which can house a different printing head assembly. Each printing head assembly can print a different color of resin or different material.
A framework inside the enclosure supports a track, along which is located a first supporting stand. When directed by the printer’s control module, this first supporting stand can move along the limits of the track and framework via Cartesian motion in the X, Y and Z axes through the printing region and into the stand-by region.
The first supporting stand can move into the stand-by region and retrieve the desired printing head assembly. Each printing head assembly maintains a predetermined temperature while in its stand-by supporting stand so it is ready to print when selected.
Once the first printing assembly head has completed its initial portion of the part using one color or material, the first supporting stand returns it to its stand-by supporting stand and retrieves the second printing assembly head, which uses a different color or material, and prints its portion of the part. This method of changing printing assembly heads follows the design of the desired part, as directed by the control module, until the part is finished.
Patent 10,639,845; issued May 5.
