Patent Report: Process removes contaminants from PCR
Contaminated thermoplastic removal. A patent application from Midland, Mich.-based Dow Global Technologies LLC proposes a process for removing contaminants from thermoplastics, such as post-consumer recycled (PCR) plastic, that avoids the negative aspects of previously devised methods, such as solvent extraction, surfactants, caustics or complex/multistep processes. The result is a purified thermoplastic polymer useful for making other articles.
The PCR could contain a wide range of thermoplastics including polyolefins, thermoplastic urethane and thermoplastic silicone, with potential contaminants including inorganic materials, paper, oil and food residue, etc. The contaminated thermoplastic could potentially have contaminant levels as high as 50 percent of its total weight.
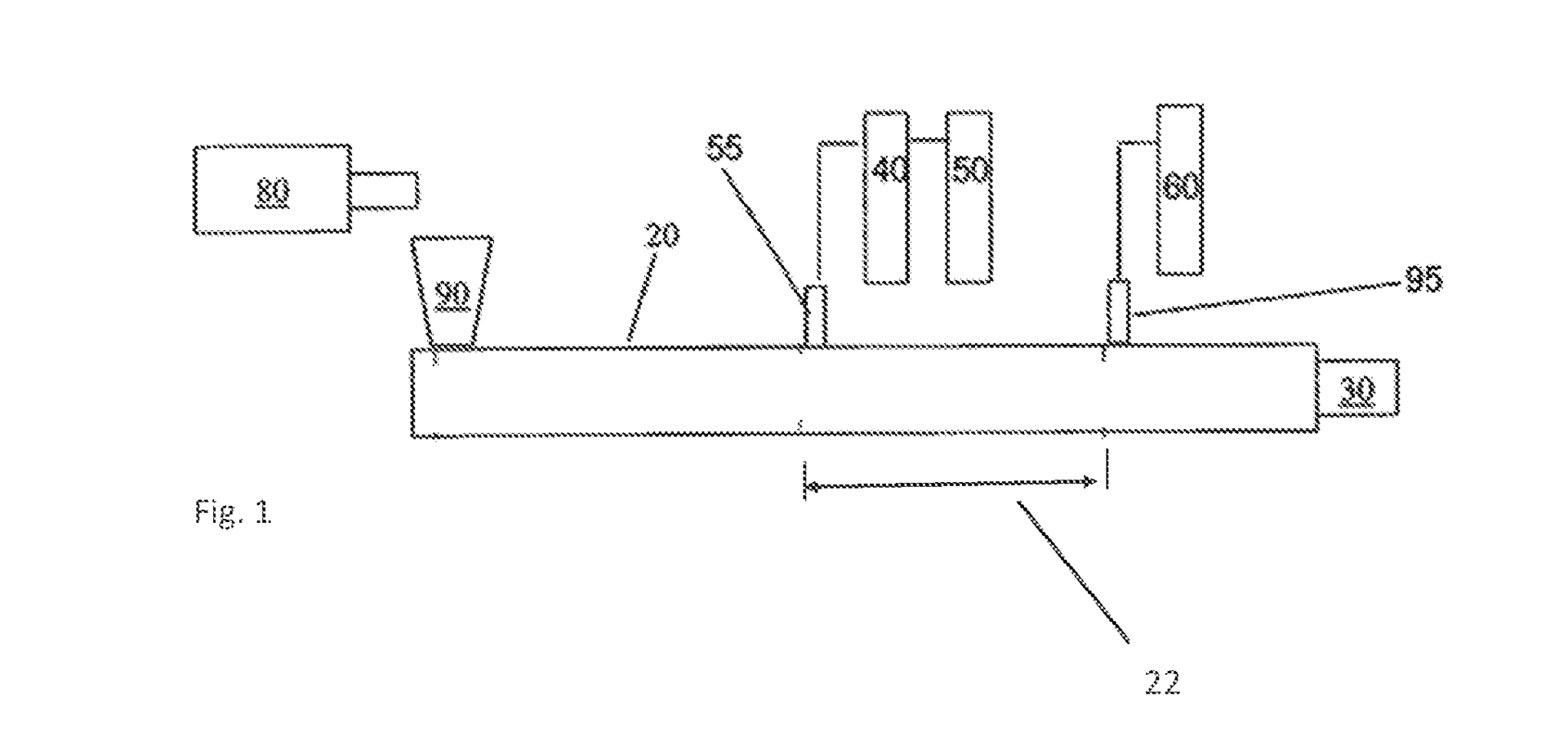
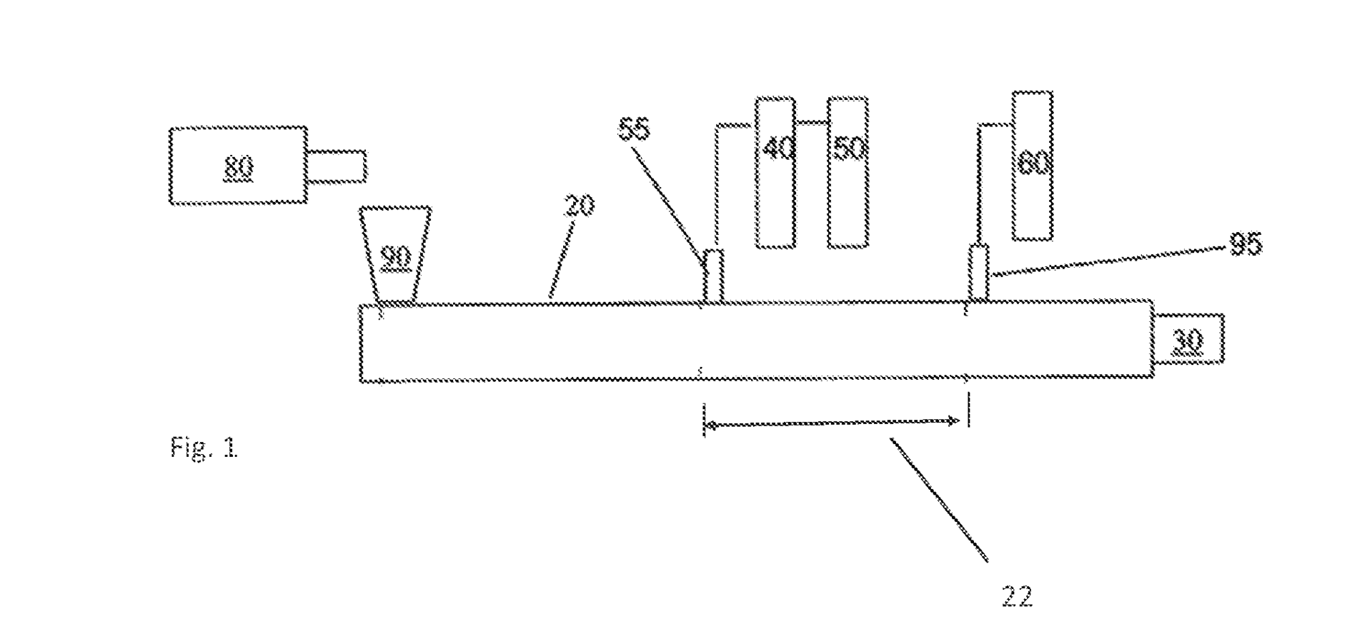
The described method combines the contaminated thermoplastic with water and a dispersing agent, then subjects the combination to shear at temperature above the melt temperature of the thermoplastic. Optional additives include a cleaning agent to keep contaminants from redepositing on the thermoplastic, a compatibilizer and/or a neutralizer.
The process can run in a single extruder at a temperature from just above the thermoplastic’s melt temperature up to 536 degrees Fahrenheit, and with a single extruder, generally no venting would be required. “However, in a system with two extruders in series — one to convert the contaminated thermoplastic to a melt and a second to shear the combination of the contaminated thermoplastic melt, water and dispersing agent (and optional components) … there could be venting toward the end of the final zone for cooling — e.g., to dewater the combination to some extent.”
After shearing, the aqueous solution containing all of the components can be separated to collect the purified thermoplastic polymer, which can then be dried to form a powder or pelletized.
Patent application 20230272180; published Aug. 31
