Patent Report: Invention removes dust, fluff and streamers from plastics
This story appeared in the Summer 2020 edition of Plastics Recycling magazine.
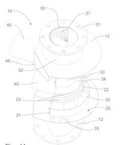
Deduster. Pelletron Corp. of Lancaster, Pennsylvania, has received a patent for its deduster that works with regrind or virgin plastic, whether in coarse powder, granule or pellet form. The invention removes contaminants, including foreign materials and the dust, fluff and streamers that can result from friction when plastics are transported through tube conveying systems. Such contaminants can cause imperfections in the final product or premature wear and downtime for the processing machine.
Prior inventions include either multiple wash decks or a cylindrical housing that surrounds an inverted conical wash deck. The wash decks have apertures through which pressurized air flows dislodge contaminants from the material stream, forcing them into a Venturi zone and then out a discharge port.
However, as in the case of the conical wash deck, the patent states that “the flow of particulate material does not always extend uniformly around the entire circumference of the conical wash deck, which results in a decrease in operational efficiency.
The current invention is novel in its use of a generally semicylindrical shape and a half-round conical shape for the wash deck. This allows it “to separate contaminants from greater quantities of particulate material without increasing the overall size of the dedusting apparatus,” the patent states.
Patent 10,646,902; issued May 12
