Patent report: Invention simplifies vacuum conveying systems
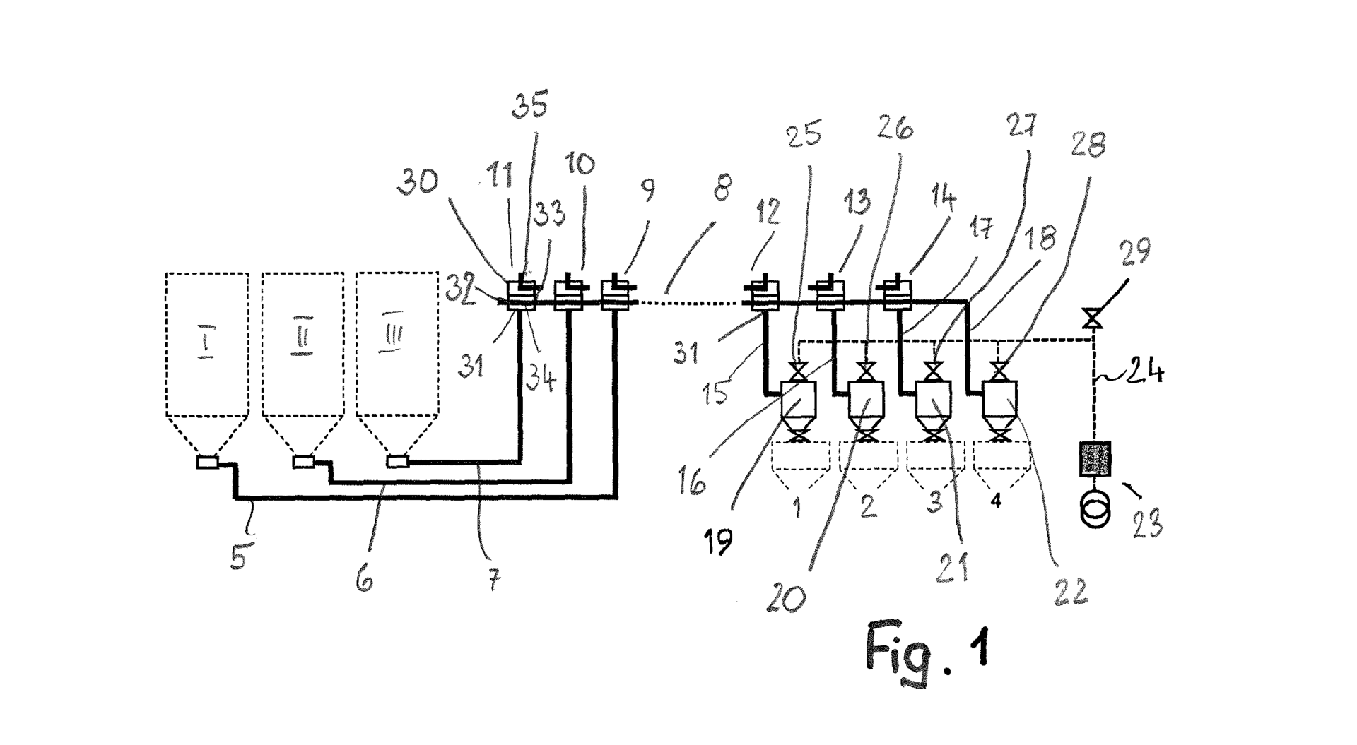
Vacuum conveyor. A Hünenberg, Switzerland, inventor has applied to patent a vacuum conveying system for resin pellets. In his application, Walter Kramer describes a conveyor that eliminates coupling stations and instead uses valves, reducing the cost and complexity of the system used to transport pellets from silos to processing equipment.
The conveyor includes a central material conduit, valves and a vacuum source and is used to connect at least two resin storage containers to at least two processing machines.
“The valves have a first position and a second position, wherein in the first position, the valves open the material conduit to provide a through passage,” the application states. “In the second position, the valves supply the vacuum flow/air flow to the central material conduit or conduct the vacuum flow/air flow away from the central material conduit.”
Because the valves themselves are part of the material conduit, no connectors are needed on the material conduit for the valves.
Patent application 20200270074; published Aug. 27
