Patent Report: Device offers protection, access to mold
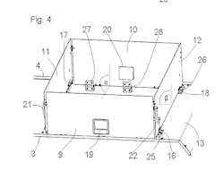
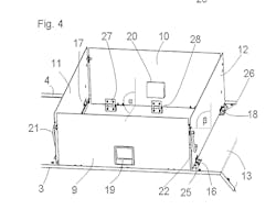
Protection device. Balancing operator protection with ease of access for part removal in an injection molding machine is addressed by a patent awarded to Haitian Plastics Machinery Group Co. Ltd., Ningbo, China. Prior solutions include doors on the sides of the machine for part removal and/or maintenance, with a fixed top cover to shield the area between the clamping plates. Another approach is a single moving piece that covers the top and sides and can travel along the closing axis, but this solution can be expensive and is unsuitable for automated part removal.
The invention allows access for part removal through the top of the machine and consists of two cover elements. The first cover element, which in one embodiment is a pair of access doors with a hinged attachment, opens upward. The second cover element, which lies directly under the first cover element when closed, opens upward with its pair of doors hinged on opposite sides along the closing axis. In “the case of an open protection device, the clearance between two adjacent cover elements is so small that it is not possible for a person present in the periphery of the machine to intervene from outside,” the patent states.
When open, the device provides sufficient room for mold changes or part-removal devices.
Patent 10,647,043, issued May 12
