Patent Report: Invention cools preforms efficiently
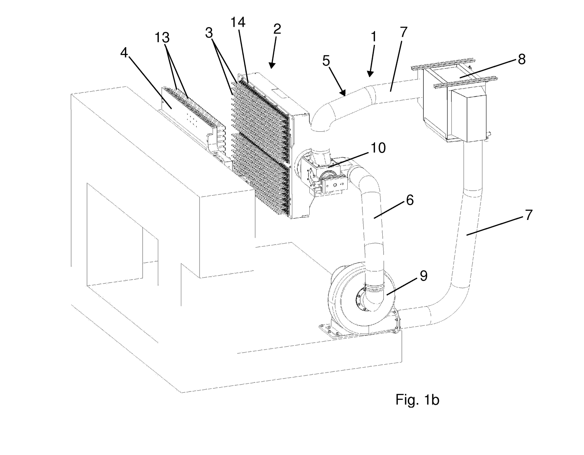
Preform handling. An Italian company seeks to patent an invention that efficiently cools injection molded bottle preforms. The apparatus consists of a rotatable handling station with retaining and cooling pins; the station operates in conjunction with an extraction plate that removes the preforms from the injection mold and has cooling housings that conduct heat away from the preforms. The invention also has a system of ducts for injecting and removing cooling air from the handling station.
In one variation on the invention that features a heat exchanger, the air is moved via a fan, blower or void pump.
In its patent application, Sipa SpA, Vittorio Veneto, Italy, says that existing technologies for handling preforms use warm air from within the molding machine housing to cool the preforms and are, therefore, not very efficient. An injection molding machine that incorporates the invention would have optimized cooling times and cycle times, while ensuring high-quality preforms, according to the application.
Patent application 20200061895; published Feb. 27
