Resin pellet dosing system saves space
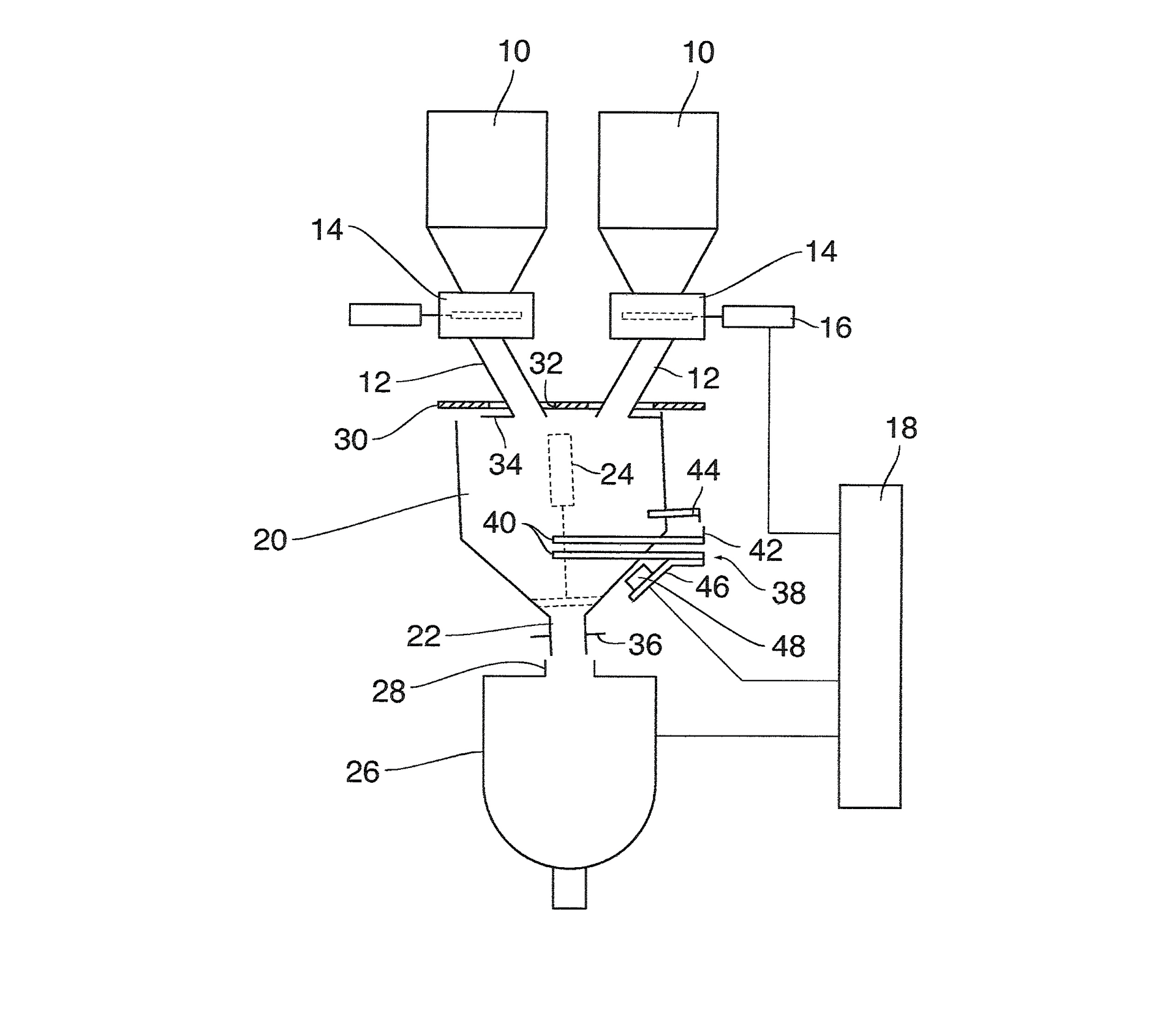
Dosing system. Plast-Control GmbH, Remscheid, Germany, has invented a system for dosing resin pellets into processing machines that is more compact than existing technologies because it eliminates the need for a safety enclosure.
The dosing system includes multiple material supply containers with outlets and dosing mechanisms; a weighing container; a mixer; and a safety switch and control device that shuts off the dosing mechanisms and mixer.
The “weighing container is configured such that, in the operating position, it blocks access to the dosing mechanisms and/or to the inlet of the mixer, and the safety switch is arranged on the framework such that it emits the switch-off signal when the weighing container is removed from the operating position,” the patent states. This protects workers from accessing dangerous moving parts while the system is operating, but eliminates the need for an enclosure and door, allowing it to fit in tight spaces.
Patent 10,557,746; issued Feb. 11
