Patent Report: Reifenhäuser invents mobile interface to simplify extruder operation
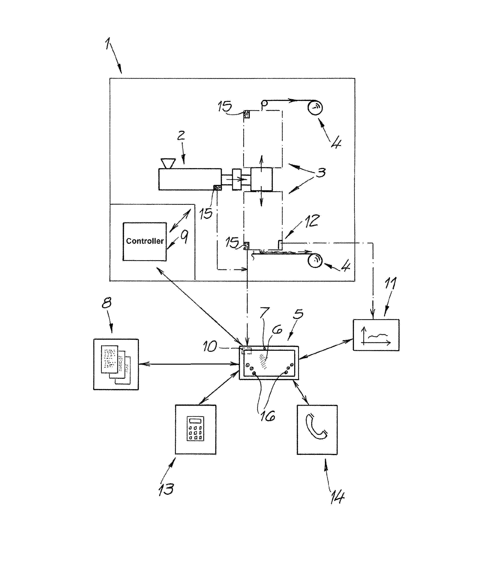
Extrusion system. The U.S. Patent and Trademark Office awarded a patent to Reifenhäuser GmbH & Co. KG Maschinenfabrik, Troissdorf, Germany, for an extruder with a mobile operator station that makes operating the machine simpler.
The mobile operator station includes a graphical interface and a camera and provides access to one or more external information sources.
Typically, operating and monitoring an extrusion system is a complex task, requiring the operator to have access to a wide range of information sources, the patent states. It is also necessary to take photos or videos to monitor production or search for faults.
In a preferred embodiment of the invention, the operator station is location- and maintenance-sensitive, displaying nearby system components and their process conditions and service department contact information as needed. In other embodiments, the station can display relevant data on raw materials, orders, invoices, deliveries, replacement parts and inventory.
Patent 10,967,555; issued April 6
