Patent Report: Mobile, modular pipe extrusion
Pipe extrusion. A modular system that can easily be transported, assembled and used to extrude pipe at the location where the pipe will be installed is the subject of a patent application submitted by Tubi Ltd., Paddington, Australia.
The invention overcomes problems with installing large-diameter pipes in remote areas. Large-diameter pipes are manufactured in sections of a manageable size and weight. “These sections are transported to the site for pipe laying, where multiple sections are joined together by a coupling, which may involve plastic welding of the ends of pipe sections. Such coupling of the pipe sections is time consuming and adds additional costs,” the application states.
Manufacturing pipe near where it will be used reduces or eliminates transportation expenses. Because the pipe does not have to be transported long distances, longer lengths can be extruded, reducing the number of welds and couplings used, thereby reducing costs for material and labor. “In addition, fewer welds and couplings lead to less chance of defects in the couplings and less chance of compromising the integrity of the pipeline,” the application states.
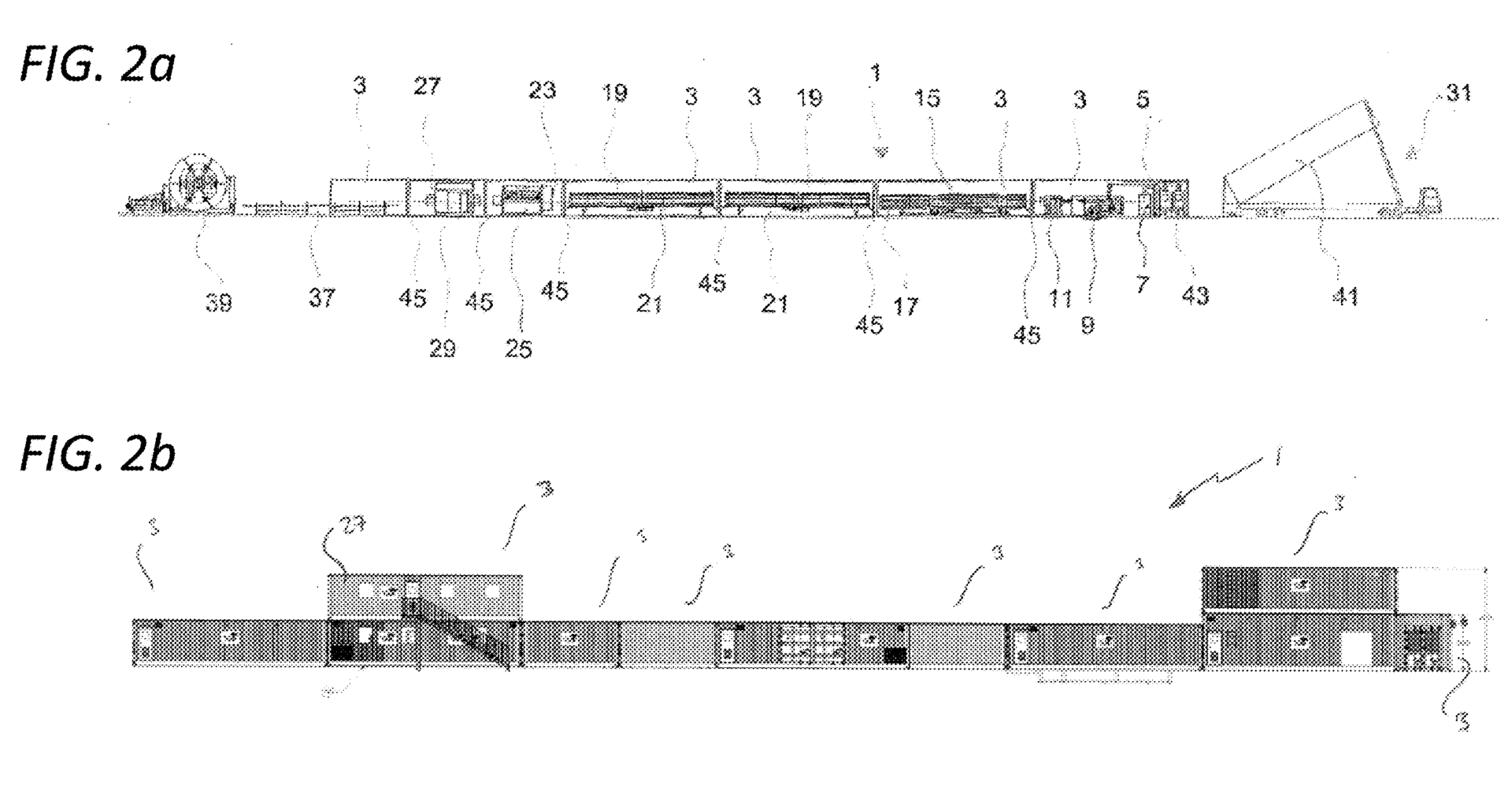
“Traditional transportation methods may not have the capacity to transport bulky pipe through rugged or remote terrain. By providing a mobile pipe manufacturing facility, the pipe extrusion machine itself may be separated into manageable, containerised modules. These modules may then be more easily transported to a remote location,” the application states.
In addition to an extruder, the invention can include any of several other components, such as a resin dryer, a die head, a pipe corrugator, a cooling tank or tanks, a caterpillar haul-off, a cutter, a pipe-sliding table, a tipping table, a coiler and a power generator. The application also describes how to rapidly set up and take down the system.
Patent application 20200230858; published July 23
