Patent Report: Gentle unloading of bottle preforms
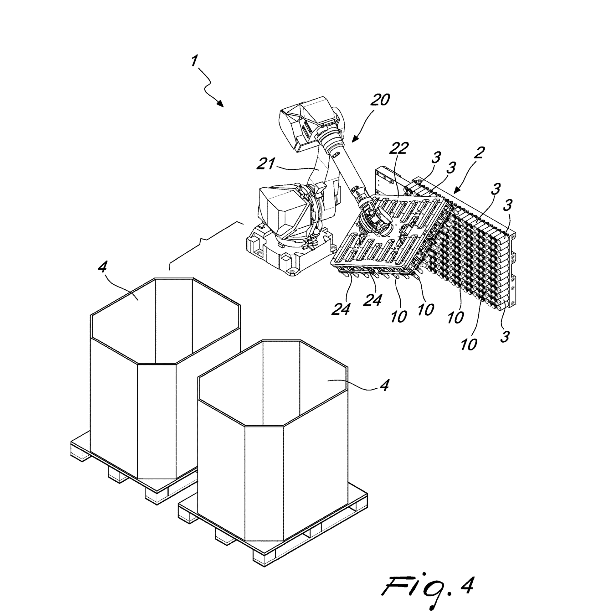
Preform unloading. A system for unloading bottle preforms from an injection molding machine and placing them in a container earned a patent for Sacmi Imola S.C., Imola, Italy.
The invention prevents the damage that can happen with systems that allow hot preforms to fall onto a conveyor and then drop into a container. Additionally, containers filled by such systems have a random arrangement of preforms, reducing the number of preforms they can hold, according to the patent.
The invention includes a cooling plate with multiple receptacles for holding the preforms; a component that transfers the preforms from the injection molding machine to the cooling plate; and a robot that removes the preforms from the cooling plate and puts them into a container. A portion of the invention operates under pressure greater than atmospheric pressure to prevent contamination of the preforms.
In addition to allowing for orderly preform unloading, the device substantially reduces “the number of falls, rebounds and scrapings, or in any case the potential opportunities for damage to the preform independently of the temperature, with respect to the solutions commonly used with belt conveyance,” the patent states.
Patent 10,800,089; issued Oct. 13
