Patent Report: Oscillating stack speeds polymer dissolution in solvent
Oscillating stack. A patent application by Reventas Ltd. of Livingston, Great Britain, describes a method of dissolving a polymer in a solvent to remove additives from the plastics, allowing the reclaimed polymers to produce colorless or clear, odor-free, virgin-like polymer.
Current methods of recycling mixed plastic waste offer limited value for resale and reuse, with most products created with such recyclate relegated to black, low-value and out-of-sight products.
While earlier patents discuss turning post-consumer or post-industrial polymers into virgin-like polymer using solvent, elevated temperature and pressure, the processes are time-consuming, limited to lab or batch scale and require a typical minimum polymer-to-solvent ratio of 1-to-100.
“It is therefore an object of the present invention to provide a method to dissolve at least one polymer in at least one solvent in a process for the removal of additives in plastics which obviates or mitigates one or more disadvantages in the prior art,” the patent states.
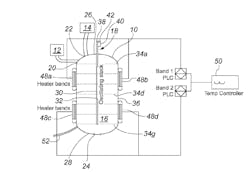
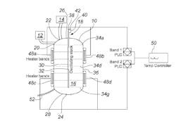
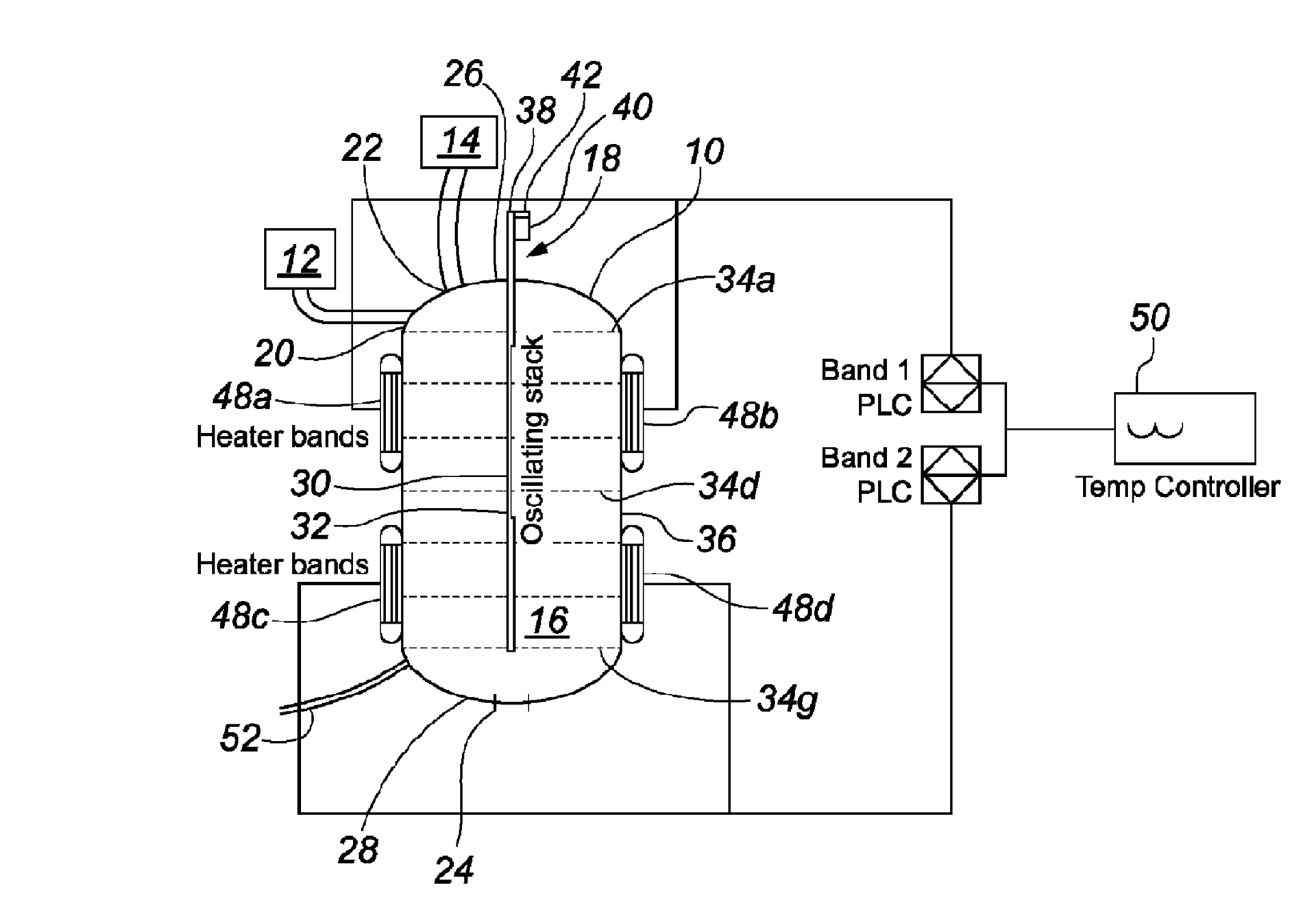
The patent application calls for combining polymer and solvent in a reactor vessel equipped with a stack of perforated discs that oscillate in a linear motion, which in some embodiments can be arrayed vertically, and in others in a horizontal arrangement.
The envisioned thermoplastic feedstock could be polyethylene (PE), polypropylene (PP) or more preferably a mixed PE/PP recyclate.
According to the patent application, the stack’s linear motion cuts the dissolution time required to remove additives such as color pigments or odors from hours down to minutes, and can also decrease the polymer-to-solvent ratio to 1-to-20 or even as low as 1-to-10. The patent application also claims this process has the ability to be used at commercial, describing the use of a vessel with a capacity of up to 30,000 liters.
Patent application 20230295394; published Sept. 21
