Patent Report: Process removes pigment from plastic waste
Plastic recycling process. One stumbling block to broader adoption of a circular economy is the low value of plastics recycled from mixed plastic waste. The highest value is assigned to plastics that have been separated by resin type and/or color. Molders and manufacturers using these mixed-color plastics are usually limited to making products that are black, of low value and out of sight.
Impact Laboratories Ltd. of Grangemouth, Scotland, has applied for a patent for a system to extract pigments from mixed plastic waste to increase their value.
Methods exist to clean the surface of plastics, and some are able to remove the color from ink on the surface, but they don’t remove the color from the plastic itself. Other techniques have been shown to remove a single pigment, but require carcinogenic compounds, high energy inputs and hours of extraction time, making them impractical for continuous or near-continuous processes.
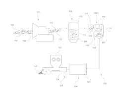
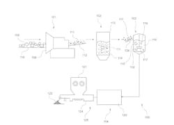
The patent application describes the use of a solvent that can remove one or more color pigments and is itself recycled in the process. It can perform this action in a continuous, semi-continuous or batch process and be operated at a commercial scale.
According to the patent application, the process includes introducing waste plastic feedstock and a solvent into a reactor. The feedstock may be any type of plastic currently recycled or destined for landfill, and can be in shredded, granule or pellet form. After the feedstock is introduced, the reactor employs a high-shear mechanism to mix them to extract at least one pigment. The shear mechanism maximizes the solvent’s contact with the pigment and thus its opportunity to dissolve the pigment.
Next, the solvent is removed from the reactor, and the pigment is separated from the solvent and collected. The treated plastic is removed from the reactor and collected. New waste plastic feedstock is then fed into the reactor, and the previously separated solvent is reintroduced to the reactor to begin the process again.
In a preferable embodiment, the shear mechanism is an extruder. In other embodiments, the shear mechanism may be an emulsifier unit, two or more counter-rotating rollers, a baffled oscillation separation system or a shredder. Other features that may be included in the process are a heating element for the reactor and the introduction of an inert gas into the chamber, such as nitrogen, to prevent decomposition of the plastic when it is heated.
If the plastic product removed from the reactor after a single stage is colorless, it may be pelletized for resale.
“The process may be repeated with a different solvent to thereby remove another colour of pigment. In this way a multi-stage process is formed for stepped pigment extraction with each stage removing a different colour or group of colours with different solvent formulations,” the application states.
In a preferred embodiment, the solvent is an ionic liquid, which has the advantage of maintaining efficacy after reuse for dozens of cycles. Xylene, which decreases extraction time, may be used as an additive. “By selection of a suitable solvent … the extraction of carbon black and blue/black pigment from PET food trays can be achieved,” the application states.
The process does not degrade or depolymerize the plastic.
Patent application 20220040889; published Feb. 10
About the Author
David Tillett
Associate Editor David Tillett writes and edits for Plastics Machinery & Manufacturing, Plastics Recycling and The Journal of Blow Molding. He covers new products, industry news, patents and consumer and business equipment. He has more than 20 years of experience in daily newspaper, online and magazine journalism.
