Patent Report: Fimic melt filter cleans recycled plastic
Melt filter. A melt filter for removing contaminants from recycled plastic earned a patent for Fimic srl, Carmignano di Brenta, Italy.
An existing method for removing foreign debris from molten plastic involves two separate filtering machines, each on its own extruder. The resin is allowed to cool after passing through the first machine, then is cut into granules and run through the second machine to remove smaller particles. This method is expensive in terms of equipment and can degrade the plastic’s properties due to the multiple cooling and heating steps.
A second method involves continuously processing the molten resin through two separate filtering machines inline. However, “the pressures and the length of the entire path … are so high that they greatly deteriorate the plastic material,” the patent states.
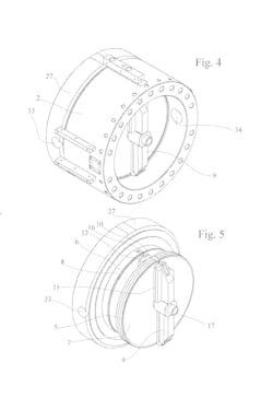
Fimic’s invention consists of a hollow body that contains multiple filters arranged in sequence and that has an inlet and an outlet for the molten resin to pass through. The filters have rotating scrapers driven by an externally operated drive shaft. Debris captured by the filters is removed by the scrapers and directed out of the device through a hollow section of the drive shaft.
Each filter is composed of a perforated disc or plate firmly attached to the hollow body and a metal perforated sheet that rests on the disc. The sheet is not able to withstand the working pressures of the system, which is why it rests against the sturdy disc. The filters have different sizes of holes, so that larger contaminants are captured by the first filter and smaller particles are captured by subsequent filters.
A beneficial feature of the invention is that if the pressure of the molten plastic exceeds a certain value, the drive shaft rotates the scrapers to remove any material that may be obstructing the filters. This prevents the melt from reaching unacceptably high pressures. Additionally, “the drive shaft can be set in rotation on command independently of the pressure reached by the molten material, continuously or according to a sequence or time intervals or as a result of anticipated events,” the patent states.
The invention overcomes drawbacks of existing technologies because it is compact, relatively inexpensive, it protects the physical properties of the plastic and is designed to be easy to maintain.
Patent 11,103,812; issued Aug. 31
