Patent Report: Silicone mold cuts costs
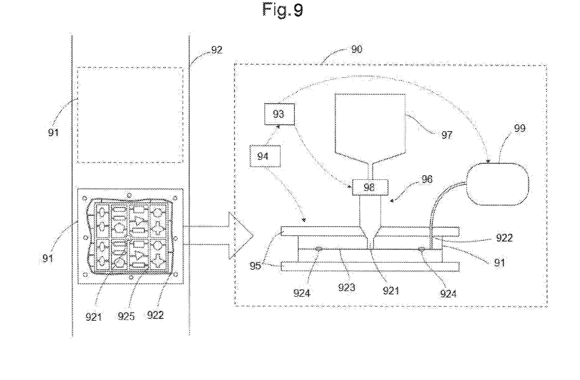
Injection mold. An inexpensive, flexible injection mold made of silicone, rubber or other elastomers, and a method for using it earned a patent for Comercial Nicem Exinte S.A. of Barcelona, Spain.
The mold is designed to economically and quickly produce prototypes and small quantities of thermoplastic parts, including overmolded parts. The mold consists of two halves that, when joined, form a series of compartments and channels that the resin flows through, while an external vacuum pump generates a vacuum that evacuates the air from the channels through an outlet.
“It is worth noting that this invention allows for the small-sized production of prototypes, which is inconceivable when rigid or metallic moulds are used, due to their high cost and the long production times,” the patent states. “Finally, this new methodology makes it possible to manufacture all types of items, both simple items and complex items with undercuts that cannot be produced using rigid metallic moulds.”
According to the patent, the invention “solves the problem of carrying out small- and medium-sized production with feasible times and prices.”
Patent 11,117,301; issued Sept. 14
