Patent Report: Gerresheimer Regensburg mold makes hollow parts with nozzles
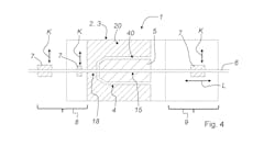
Injection mold. The U.S. Patent and Trademark Office has issued a patent to Gerresheimer Regensburg GmbH, Regensburg, Germany, for an injection mold that can be used to produce plastic hollow parts that feature a molded nozzle.
Prior methods for shaping a part’s nozzle opening involve a protrusion on the mold core that is prone to damage. “Furthermore, with prior art cores it is impossible to form nozzle diameters below 0.5mm in injection molded components,” the patent states.
The injection mold includes two outer mold halves that define the outer contour of the molded part and a core that defines the inside contour. Before resin is injected, a wire is passed through the mold core and through bore holes in the joined outer mold halves; the wire is fixed in position by pairs of clamping jaws at one end of the injection mold. A third pair of clamping jaws at the other end of the mold is movable in the centerline direction, which allows the wire to be pushed into or pulled from the mold.
According to the patent, resin is injected into the space between the core and the mold halves, “so that the injection-molded component with an opening having the diameter and cross-sectional shape of the wire … is formed.”
After the finished part is removed from the mold, the wire is taken out and a new section of wire is positioned in the space between the core and the joined mold halves. Therefore, “it is possible to manufacture nozzle diameters up to a size greater or equal to 0.03 mm,” the patent states. “Depending on the injection molding process the wire passed through the core is exposed once only to the forces acting during the injection molding process. This has the advantage that it is not affected by continually changing forces.”
An additional advantage of the invention is that the manufacturing process is continuous and reliable, according to the patent.
Patent 10,994,459; issued May 4
