Patent Report: Thermoplay injection unit compensates for thermal expansion
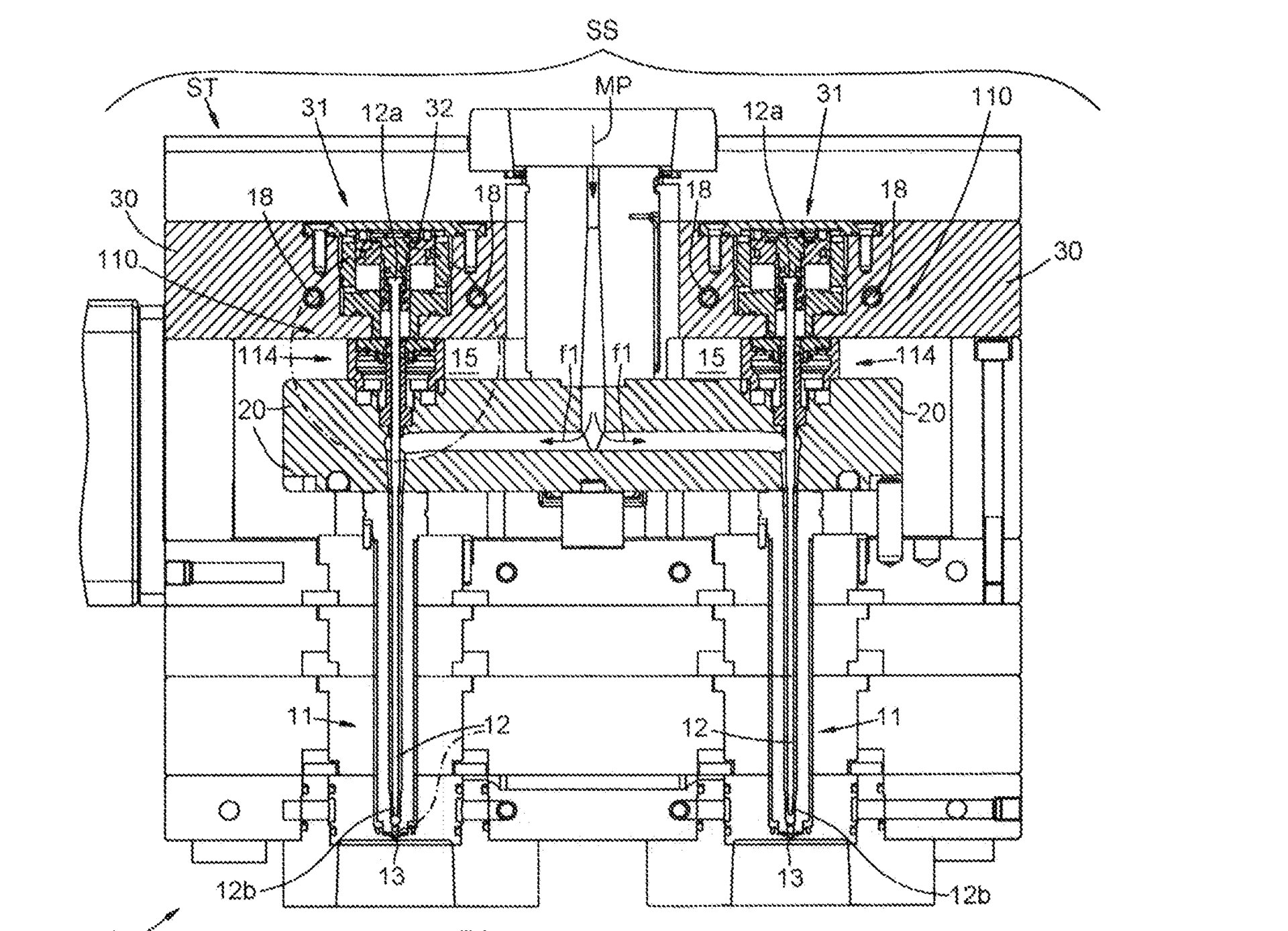
Injection unit. A newly patented injection unit with a closure pin for hot-runner injection molding applications overcomes some of the limitations of prior technologies, such as resin leakage and thermal stresses, according to inventor Thermoplay SpA, Pont-Saint-Martin, Italy.
The injection unit has a closure pin that slides axially respective to a guide element to open and close a gate for injecting the molten plastic into a mold. The injection unit is associated with a manifold that distributes molten resin to the injection unit, and a control plate for controlling the motion of the pin. The invention’s spacer and guide assembly is designed to compensate for the differing thermal expansions of the hot manifold and the cooler control plate; this prevents the pin from experiencing damaging stresses, the patent states.
Furthermore, the effective transmission of heat away from the area of the guide element prevents high temperatures that could cause resin leaks. Achieving optimal thermal conditions throughout the injection unit permits precise injection of the plastic and reduces wear and tear for longer life of the closure pin. Additionally, the injection unit is easier to assemble, according to the patent.
Patent 11,254,038; issued Feb. 22
