Patent Report: Hot-runner system
Hot-runner system Plastic Engineering & Technical Services Inc., Auburn Hills, Mich., has patented a hot-runner system that improves material distribution at the valve gate opening, minimizing witness marks and other imperfections on the finished injection molded part.
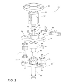
The system includes a hot drop with an inlet for receiving molten resin; the inlet diverges into two channels that converge at a feeder tube for evenly distributing the resin in a mold cavity. The hot-runner system also includes a valve pin that moves in response to the activation of two linear actuators outside of the hot drop. The linear actuators move in unison with each other and are joined to the valve pin via a crossbar that extends between the first and second channels within the hot drop.
In one embodiment, the hot drop includes a drop body and a drop fork that define the two channels and are surrounded by heater bands. In another embodiment described in the patent, the linear actuators include internal pistons and “are disposed laterally outward of the hot drop, being disposed between a base plate and a top plate that overlie each other, the base plate being further joined to a mold half,” the patent states.
Patent 10,717,218; issued July 21
