Patent Report: Device listens for abnormal sounds in presses
Abnormality detection device. A device that listens for abnormal sounds made by parts moving within an injection molding machine garnered a patent for Fanuc Corp., Yamanashi, Japan. The patent describes the device as being able to overcome the problems of interference from background noise.
“It is therefore an object of the present invention to provide an abnormality detection device that enables the detection of abnormality in movable parts in an injection molding machine at an early stage,” the patent states.
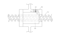
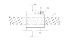
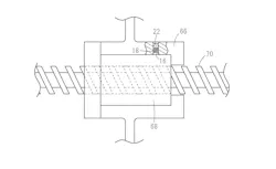
The device consists of a microphone or series of microphones, a sound data-acquisition unit that can be connected to a microphone or microphones with wires or wirelessly, a sound comparator that compares sound data with reference sound data, and an abnormality determiner that uses the sound comparator’s results to decide if a movable part is in an abnormal state. The device also can include a notifying unit that alerts the operator when a movable part has been determined to be in an abnormal state
The present invention addresses the problems posed by background noise in part by employing a microphone installed through a hole adjacent to a moving part. The hole is sealed with a sound insulator to further protect the microphone from outside noises.
As an example, the microphone may be installed in the crosshead in a perpendicular or parallel orientation next to the part that it monitors.
Bearings, ball screws, ball screw nuts, toggle bushes or slides can be monitored.
Patent 10,632,659; issued April 28
Referring to “sacrificial molds,” AddiFab says, “a key objective is that the molds can be disintegrated after filling to permit the manufacturing of complex objects with geometries that cannot be injection-molded.” Because they are printed from easily edited designs, the one-time-use molds can be modified from part to part, according to the application.
AddiFab’s application states that previous patents for 3-D printed molds have dealt only with molding thermosets. But the molds described in the application have greater mechanical and thermal stability than previous 3-D molds, so they can stand up to the temperatures and pressures required to shape thermoplastics. Many additive manufacturing processes can be used, but the application says that ultraviolet digital-light- projection and stereolithography printers produce the highest-quality molds.
“The sacrificial molds ... are suitable for thermoplastic injection molding processes at high plastic melt temperatures and injection pressures,” the application states.
The application lays out the steps of using a sacrificial mold, citing as an example a mold used on an AB-200 semi-automatic tabletop plastic injection molding machine supplied by A.B. Plastic Injectors, Montreal, Québec. The molding machine heated up to 473 degrees Fahrenheit to produce a PP part in 3 seconds. An operator then placed the mold in a jar of sodium hydroxide that was heated to a temperature of 122 degrees Fahrenheit for 24 hours to fully disintegrate the mold.
Patent application 20200156298; published May 21
Cap assembly. A proposed device for adding caps to food packaging, such as Tetra-Paks, ideally includes cameras and computerized controls of spindles that pick up the caps and align and attach them to supports. This setup improves upon existing technologies, claims a patent application assigned to Telerobot Sp.A., Genoa, Italy.
The application says that current technologies require many expensive components and are plagued by frequent misalignments. “Lastly,” it says, “the cutting systems do not take into account the positioning of the cap and of the base support and can therefore cause undesirable damage with loss of products and waste.”
Guided by cameras and encoders, the application’s spindles employ vacuum or pneumatic grippers. In ideal iterations of the proposed system, users would opt for surgical scalpel-type blades to ensure precise cuts when creating perforations for tamper-proofing. Telerobot says the invention would be more accurate, faster and cheaper to operate than existing technologies.
Patent application 20200156914; published May 21

