Patent Report: Colines system recycles film trim inline
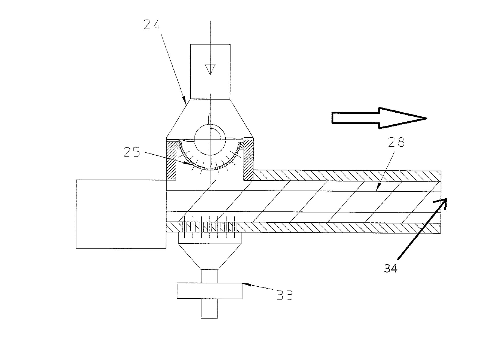
Film recovery. Colines SpA, Novara, Italy, has applied for a patent for a system that recovers film trim from an extrusion line and feeds it back into the production process without pelletizing it first.
The invention overcomes drawbacks of existing systems by feeding the trim consistently, preventing material degradation and saving energy, according to the patent application.
The system includes a cutting apparatus to trim the edges of the film, a conveyor for transporting the trimmings, a chopping device, a pre-treatment device and a feeding device. The pre-treatment device consists of a grinding mill that is affixed to the feed opening of an extruder in the film production line. The pre-treatment device has both rotating and fixed blades. Additionally, the invention features a fan beneath the extruder opening that sucks the ground trimmings in order to ensure correct feeding.
Feeding the chopped trim scrap directly into the film production line instead of melting it and repelletizing it in a separate extruder saves energy and reduces material degradation.
Patent application 20210078208; published March 18
