Patent Report: Unicor invention enhances pipe corrugating
Pipe corrugator. A system that produces corrugated plastic pipe and improves the guidance of the corrugator’s molding jaws has earned a patent for Unicor GmbH, Hassfurt, Germany.
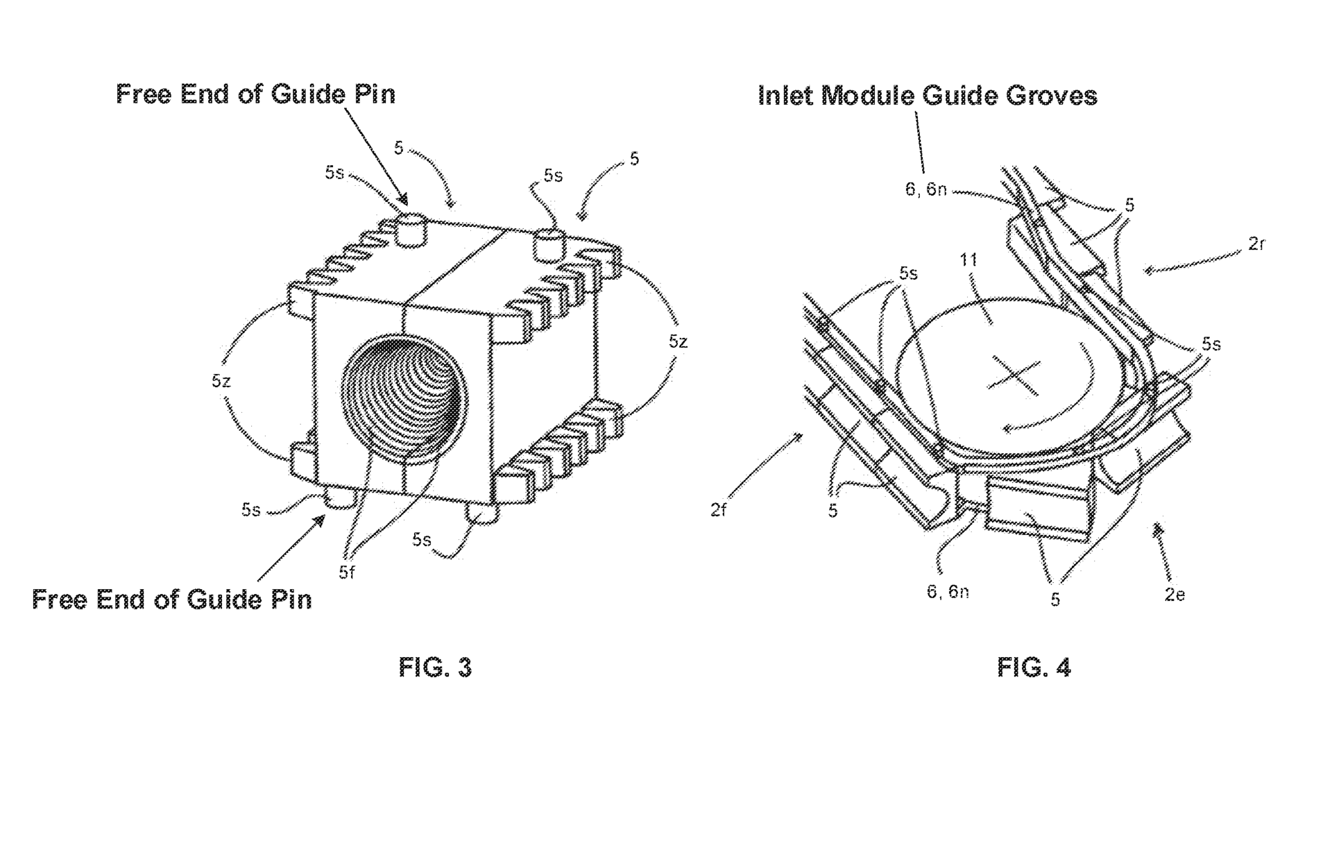
The invention includes an extruder with a die head that feeds molten plastic pipe into a corrugator. The corrugator has a molding section, in which molding jaws move in pairs. At the inlet, the molding jaws are brought together to mold the pipe; at the outlet end, the jaws are moved apart and guided back to the inlet, according to the patent. Each molding jaw has two guide pins, on opposite sides from each other, that engage with grooves in a stationary guiding apparatus. The guiding apparatus also features a temperature control element.
Previous technologies involve molding jaws with rotatably mounted rollers that engage in a common groove to guide the molding jaws. The size of the bearings and the rollers does not allow for the use of such molding jaws for pipes with small diameters up to 75mm, the patent states. The use of guide pins allows the guiding apparatus to be simple and compact.
Patent 10,981,317; issued April 20
