Patent Report: Integral handle in blow molded containers
Integral handle. Hard, Austria-based Alpla Werke Alwin Lehner GmbH & Co. KG scored a patent for a stretch-blown container with a hollow integral handle, and the method for producing it.
The patent describes a method for producing containers with a fill volume ranging from a half liter to 20 liters. Because of its cost, good mechanical strength when stretch-blown and transparency, which allows for precise laser welding, the patent mentions PET and comparable plastics as favored resins.
The patent describes a mold where each mold half has an opposing wall section that extends into the cavity between the main body of the container and its integral handle. When the mold halves are closed, these wall sections leave a space between them that allows room for the stretch blowing mandrel. Both of the wall sections contain a plunger.
Once the mold is closed, the tubular preform is axially and radially stretched, and the preliminary blowing process expands it to largely follow the interior contour of the mold cavity. The plungers are then extended toward each other into the interior of the cavity. Optionally, they can extend until they bring the wall sections in the region of the container’s handle in flat contact with each other, partially bonding them.
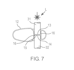
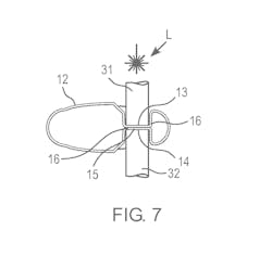
After removal from the mold, the container is placed in a laser welding station, and at this stage, if it had not been performed while in the mold, plungers on the welding station can force the portions of the container wall between the main container cavity and the handle into flat contact with each other. One or both of these plungers may be of a material transparent to laser radiation, for example glass, quartz glass or acrylic glass. Laser irradiation is introduced through the at least one plunger and forms a sealed weld along an edge of where the wall regions meet. The wall section inside the weld is then removed from the container, and the remaining seam is then deburred and/or rounded, forming a burr-free opening for a user’s hand to reach through for comfortable handling of the container.
Patent 11,186,403; issued Nov. 30.
