Patent Report: Sacmi patents optical-inspecting system for bottle preforms
Systems that visually inspect preforms inline at the high speeds typical of bottle-making equipment can provide imprecise images. Additionally, inspection stations that inspect the bottoms of preforms cannot effectively analyze screw threads or read cavity numbers for traceability, according to the patent. Off-line systems check only a limited number of the preforms that are made.
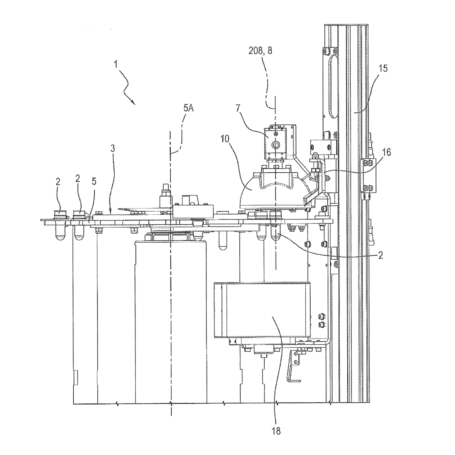
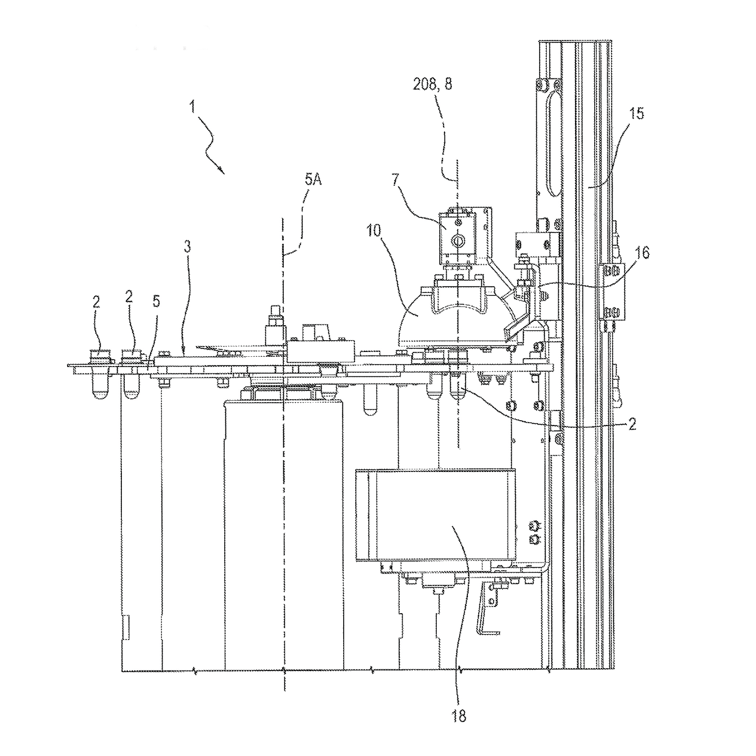
The purpose of the Sacmi invention is “to provide an apparatus and method for optical inspection of parisons allowing inspection to be performed particularly rapidly, also in process, and precisely, with reference in particular to analysis of the screw thread and reading of the cavity number,” the patent states.
The system consists of a conveyor, an inspection station, a camera with a wide-angle lens and an illuminator. Preferably, any portion of the conveyor that falls within the field of the vision of the camera has an opaque, light-colored covering. This prevents external objects from spoiling the quality and clarity of the image of the preform, increasing the precision and reliability of the inspection.
The compact device features simple construction and can rapidly inspect the screw thread and the cavity number of every preform. Each “image can be captured precisely even if the parisons are moving along the predetermined path at high speed,” the patent states.
Patent 10,234,399; issued March 19

