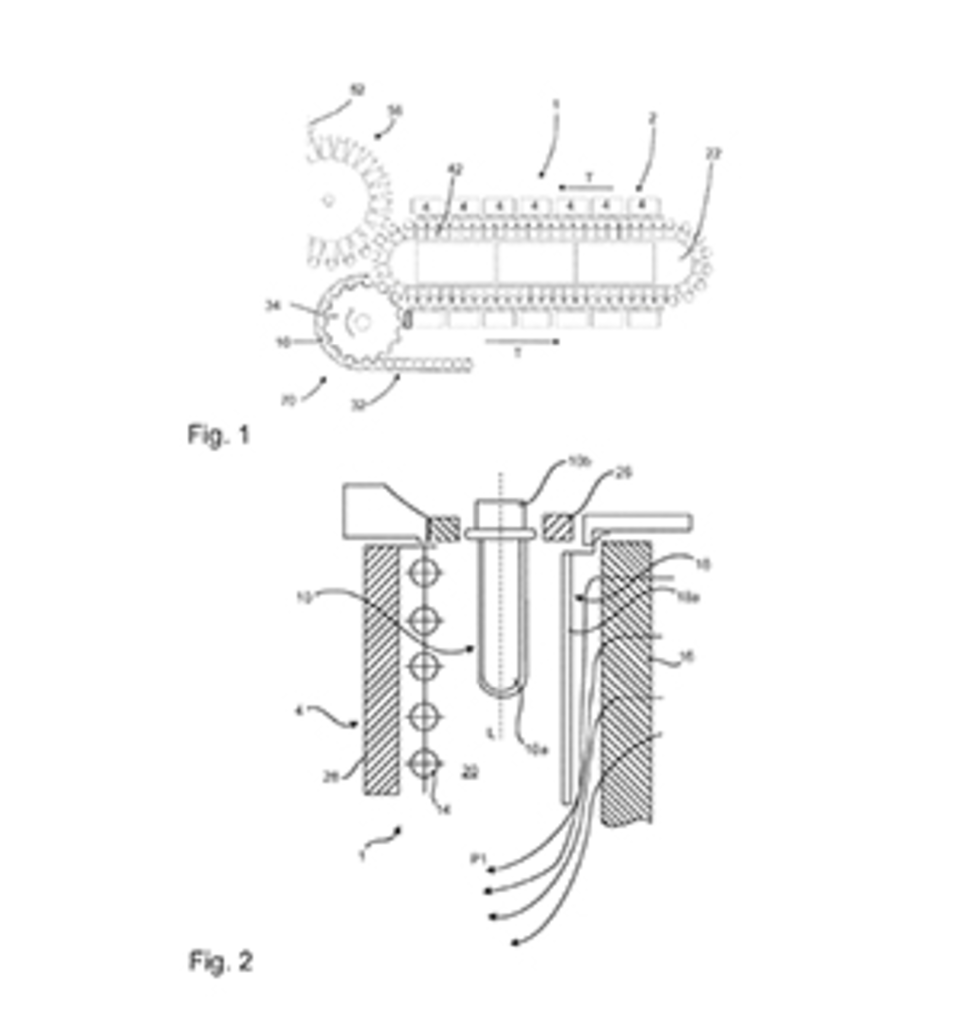
Preforms heated inside and out
Krones AG, Neutraubling, Germany, has invented a system that overcomes the problem of uneven heating of bottle preforms prior to blow molding. Some heating systems warm the outer surface of the preform to the appropriate temperature for blow molding while the inner planes of the preform remain too cool. On the other hand, the process of heating the inside sufficiently can result in the outer surface becoming too hot, resulting in thermal crystallization.
Existing methods to address the problem cool the outer surface of the preforms with air, but typically use more air than is needed, wasting energy, according to the patent.
The Krones system includes an apparatus that conveys the preforms past one or more heating elements. It features a device that precisely directs cooling gas to keep specific areas of the preform from overheating while other areas achieve the desired temperature. The flow of cooling gas can be "changed in such a way that smaller or larger volume portions … can be directed onto the outer surface of the plastics material preforms," the patent states.
Patent 10,093,059; issued Oct. 9
Injection molding machine. A design for an injection molding machine from Fanuc Corp., Yamanashi, Japan, that minimizes part ejection times and improves mold release properties has received a patent.
"In the present embodiment, the ejector speed at the start of the ejection is set to a predetermined value such that the time for the ejector operation can be minimized," the patent states.
"According to the present embodiment, the molded article can be reliably released from the mold as the overall advance speed of a projecting plate of the mold is actually increased," the patent states. "Consequently, the molded article can be prevented from adhering again to the mold due to generation of static electricity after mold release, depending on its material and shape."
Patent 10,105,888; issued Oct. 23
Micro-molding. Dr. Boy GmbH & Co. KG, Neustadt-Fernthal, Germany, has invented a new plasticizing unit for micro injection molding.
Very small screws used in typical plasticizing units for micro-molding have limitations. For example, in a plasticizing unit with a screw diameter of 10mm, "the geometric progression of the feed region configured conically in the inner diameter is not adjusted to the behavior of the granulate material drawn in, so that the granulate is neither conveyed cleanly and consistently nor rotated into the helical cavities," the patent states.
The company's invention solves the problem with a plasticizing cylinder that has a transitional region between the feed opening and the outlet. In the transitional region, the inner diameter of the cylinder tapers to the size of the outer diameter of the screw. The transitional region is created by a removable sleeve mounted within the cylinder.
The plasticizing unit is structurally simple and can be adjusted to accommodate the behaviors of different resins, according to the patent.
Patent 10,105,887; issued Oct. 23
Reaction injection molding. BetaJet LLC, Athens, Ga., was awarded a patent for its small-format reaction injection molding machines that have easily exchangeable molds and material tanks.
The overall cost and complexity of reaction injection molding mean that it is generally not practical for small production runs, according to the patent. The invention makes it possible for users "to switch out reactant materials and molds on a smaller scale to allow flexibility in the ability to make pieces and parts having varied properties."
Patent 10,046,494; issued Aug. 14
Resin conveying. A proposed pneumatic conveying system from Coperion GmbH, Stuttgart, Germany, is designed to reduce the amount of damage to resin pellets during transport, such as the formation of angel hair. The system includes a unit to humidify the pressurized carrier gas used to move the pellets, as well as a device for later separating the humid carrier gas from the pellets.
The moisture in the system can reduce abrasive wear to the pellets, the creation of dust and the formation of angel hair. The separation device at the end of the system prevents water from condensing on the pellets.
Patent application 20180244482; published Aug. 30
Extrusion die. An extrusion die from Nordson Corp., Westlake, Ohio, has an internal deckle system that simultaneously controls the width of the film discharging from the die and the edge configuration of the film layers.
According to the patent, a problem with existing extrusion technology is the lack of an extrusion die that can produce different film structures.
The deckle system has components that can be adjusted to produce film with an encapsulated edge in which the skin layer is wider than the core layer. It also can produce "naked-edge" film in which the core layer is wider than the skin layer or make film in which both layers are the same width. In addition to the internal deckle system, the die has two manifolds and a downstream flow channel.
Patent 10,040,234; issued Aug. 7
Valve-pin actuator. An invention from Inglass SpA, San Polo di Piave, Italy, aims to improve the operation of electrically actuated valve pins used in injection molding.
With traditional electrical actuation, it can be difficult to correlate the opening and closing of the valve pins to actual process conditions, such as resin temperature, viscosity and packing conditions within the mold, according to the patent.
The invention's unique characteristic is that it detects the value of the torque created by the electric rotary actuator when the valve pin is moving from a closed to an open position and then uses that value to guide the molding process.
"Through the detected torque value, the control of the electric actuator can, for example, act on the positioning of the valve pin to increase or reduce the flow of plastic material into the mold, or act on its speed, varying it in a suitable manner," the patent states.
This produces an optimal distribution of pressure inside the mold cavity for better part quality.
Patent application 20180243961; issued Aug. 30
Patents and patent applications can be viewed at www.uspto.gov
Have you applied for or received a patent? Contact [email protected]



