Patent Report: Haidlmair nozzle simplifies demolding
Nussbach, Austria, mold maker Haidlmair Holding GmbH has proposed a nozzle designed to simplify demolding.
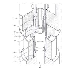
Haidlmair's nozzle injects a strand of plastic melt into a mold through a slit. To create a temperature gradient between the molded part and the sprue, the area of the sprue is exposed to heat, keeping it melted even as the part hardens. According to the company's patent application, the invention includes an injection-molding nozzle with a heatable nozzle core, which controls the temperature of the melt flow prior to its exit from the nozzle slit. A housing accommodates the nozzle core, but is heated independently. According to Haidlmair's designs, the nozzle channel between the housing and the nozzle core tapers in the flow direction; a distribution channel is located between a feed channel for the plastic melt and the nozzle channel.
"In contrast to known injection-moulding nozzles of this kind, the nozzle core must be heated in relation to the housing," Haidlmair's patent application states. It continues, "the nozzle channel ... must join at least a distributor channel, which is flow-connected to the nozzle channel via a throttle zone."
To ensure that the part hardens adequately, Haidlmair recommends cooling the housing in the region of the nozzle slit. The invention, the patent states, "provides the preconditions for dimensionally accurate injection-moulded parts of high-quality by maintaining rapid cycle times, particularly since temperature conditions which allow the tearing off of the sprue in the area of the nozzle opening can be provided by the nozzle core in the region of the nozzle slit which can be heated independently of the housing."
Patent application 20170259480; published Sept. 14
In other patent news:
Press maintenance. Fanuc Corp., Yamanashi, Japan, has been awarded a patent for a cover to prevent resin from scattering or spraying when it's purged from an injection molding machine. Designed to improve the purging process and simplify maintenance, the device is fixed to the end of an injection unit and includes a unit to provide light around the nozzle of the machine.
"The lighting unit is provided outside the resin-scattering-preventing cover such that the lighting is protected from the influence of the heat from the heating tube and scattered resin," according to the patent.
Fanuc is a maker of primary and auxiliary equipment, as well as CNC machines.
Patent 9,827,702; issued Nov. 28
Bottle-thickness measurement. Niagara Bottling LLC, Ontario, Calif., has applied for a patent for a system to measure the wall thickness of containers, such as PET bottles.
The application filed by the water and sports drink supplier describes the in-line use of a light detector and dedicated computer system to measure, record and analyze changes in the wavelengths of light as it passes through new bottles. Cameras, including thermal cameras, can be used to capture data from the light sources, as well as from the heat radiating from the bottles at different points in the production process.
Patent application 20170322018; published Nov. 9
Bag-making equipment. Kiefel GmbH, Freilassing, Germany, is seeking to patent a system for making bags, such as those used for medical infusions, from at least two layers of plastic film. The equipment has a specially configured film gripper for drawing the film into a tool at a welding station and guiding it to a second station. There is also a transport belt for moving the film through additional stations. The machine may include stations for adhering a tube to the film, welding a tube to the film, filling the bag or labeling the bag. The gripper can be adapted to grip the leading edge of the film, to avoid the problems with film sagging that can occur in current methods, according to the patent application.
Patent application 20170341311; published Nov. 30
Patents and patent applications can be viewed at www.uspto.gov.
Have you applied for or received a patent? Contact [email protected]



