Patent Report: Nozzle protects lightweight preforms
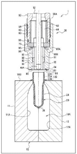
A nozzle that prevents deformation of lightweight preforms has been patented by Nissei ASB Machine Co. Ltd., Nagano, Japan, which employs the invention on its PF24-8B injection stretch blowing machines. According to the patent, the blow nozzle is made up of a nozzle main body that moves up and down, and a cylindrical outer nozzle that is attached to the circumference of the neck of a preform.
Typically, a blow core die fits within the neck portion of a preform in a blow cavity mold, where air is introduced. Nissei's invention addresses situations in which the preform's neck has reduced strength because of lightweighting. In similar circumstances, other, related inventions have required costly special air vents, or resulted in molding failures.
Nissei's invention makes the stopping position of the nozzle main body constant, and prevents the breakage of the flange portion of the bottle.
"This is accomplished by encapsulating the outside of the neck. Absolutely airtight sealing during blowing is achieved," said Jamie Pace, VP and GM for Nissei ASB Co., Smyrna, Ga. "Sealing is on the preform neck whilst it is blown up with air through the nozzle."Nissei applied for the patent about four years ago.
Patent 9,656,419; May 23
In other patent news:
Bottle inspection. German inventors Carsten Buchwald, Jurgen-Peter Herrmann, Marius Michael Herrmann and Wolfgang Schorn have proposed a bottle-inspection system that uses the refraction and deflection of light to spot defects. Designed for monitoring structures, such as embossed or raised surfaces, on bottles as they move along a conveyor, the apparatus has an optical unit and camera to detect light that has been transmitted through at least one portion of the container.
Patent Application 20170131216; published May 11
Composites testing. A measurement device conceived by Illinois Tool Works Inc. simplifies strain testing of composite materials, and could present an alternative to expensive, one-and-done standard bonded strain gauges.According to the patent filed by the Glenview, Ill.-based company, the new gauge is comprised of two strips of overlapping foil attached to a sample that's subjected to strain; a camera records changes in distance relative to the two strips to determine the deformation of the sample under stress. Because composite materials tend to shatter explosively when exposed to strain, other testing methods require time-consuming and costly preparation and can result in the destruction of expensive gauges and extensometers.
Patent Application 20170146338; published May 25
Thermoforming. Irwin Research & Development Inc., Yakima, Wash., has commercialized a platen-lock system for thermoforming machines that allows high forming air pressures to be applied to the machine's platens without putting stress on the machine's frame or linkage. This improves the machine's ability to form high-definition parts from PP, said Craig Richardson, director of sales and marketing. The platen-lock system is suited for use with PET, PP and oriented PS. Irwin has added the platen locks as an option on its 50NT, Magnum Model 50 and Model 44 Mini-Magnum machines.
Patent 9,649,808; May 16
Extrusion shaft alignment. Entek Manufacturing LLC, Lebanon, Ore., has patented the self-aligning shafts and couplings that it uses on its QC3 twin-screw extruders. Exhibited for the first time at NPE2015, the shafts and couplings make the task of installing extruder shafts easier and eliminate the possibility of misalignments.
"This invention forces mating shafts and couplings to align automatically as they are installed into the machine," said Entek design engineer Craig Benjamin, one of the three inventors of the devices. "When the shafts are installed, there is no question about alignment, as there is only one way for the shafts and couplings to go together."
Patent 9,573,313; Feb. 21
Patents and patent applications can be viewed at www.uspto.gov
Have you applied for or received a patent? Contact [email protected]



